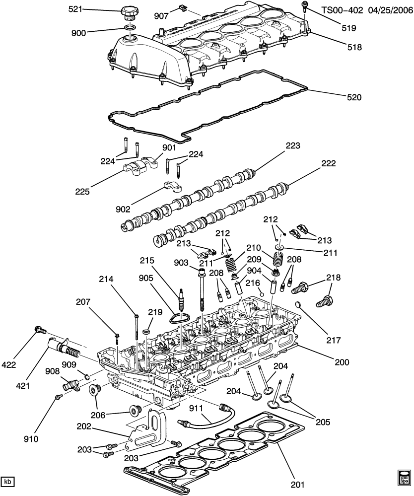
وجة غطاء بلوف بليزر/انفوي 05/02

GMC & CHEVROLET & HUMMER

195

230
  • BUICK RAINIER 2004-2005
  • CHEVROLET TRAILBLAZER 2002-2005
  • GMC ENVOY 2002-2005
  • ISUZU ASCENDER 2003-2005
  • OLDSMOBILE BRAVADA 2002-2004
  • SAAB 9-7X 2005
Weight 1 KG

195

230
Add to cart