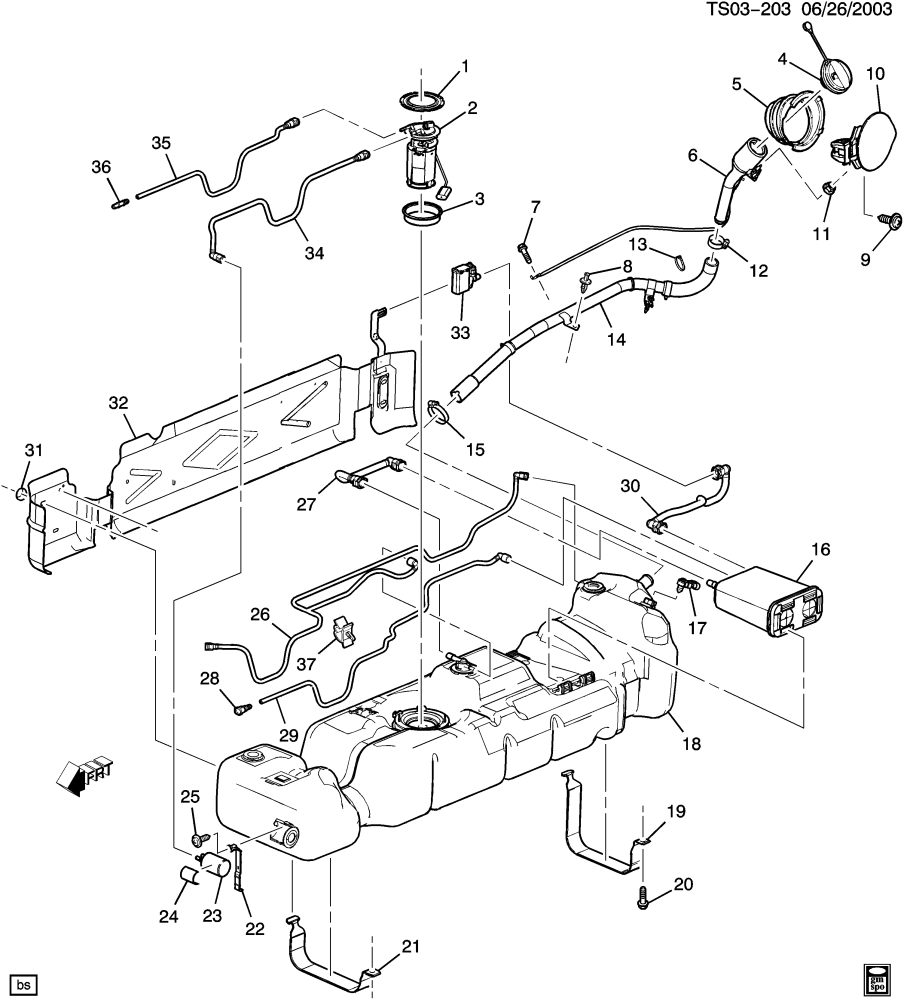
عوامة بنزين كاملة بليزر/انفوي 04/03

GMC & CHEVROLET & HUMMER

860

2,711.08
  • BUICK RAINIER 2004
  • CHEVROLET SSR 2003-2004
  • CHEVROLET TRAILBLAZER 2002-2004
  • GMC ENVOY 2002-2004
  • ISUZU ASCENDER 2003-2004
  • OLDSMOBILE BRAVADA 2002-2004
الوزن 3 كجم

860

2,711.08
إضافة للسلة