سلك كبوت MKS/تورس/اكسبلور 18/11⭐⭐⭐

Ford &MOTARCRAF & LINCOLN

370

460

💡 اسم المنتج:

سلك كبوت فورد إكسبلورر / تورس | لنكون MKS | 2010–2018

📝 وصف مختصر:

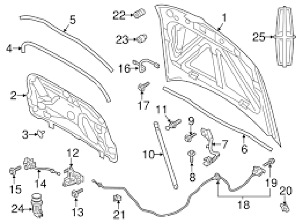
سلك كبوت (Hood Release Cable) عالي الجودة، مخصص لسيارات فورد ولينكون من موديلات 2010 إلى 2018.

مسؤول عن فتح الكبوت بسهولة من داخل السيارة، ويأتي بخامة قوية تتحمل الاستخدام اليومي، ومطابق للمواصفات الأصلية OEM.

🚗 الموديلات المتوافقة:

  • FORDExplorer — 2011–2018
  • Taurus — 2010–2018

LINCOLN

  • MKS — 2010–2016

⚙️ مواصفات المنتج:

  • 🔧 النوع: سلك فتح الكبوت (Hood Release Cable)
  • ⚙️ الوظيفة: فتح غطاء المحرك من داخل المركبة
  • 🧱 الخامة: سلك معدني مع غلاف مقاوم للتآكل والعوامل الجوية
  • 🧪 الجودة: بديل ممتاز مطابق لمواصفات OEM
  • 📦 الحالة: جديد 100%
  • 🔩 التركيب: مباشر — يحتاج تثبيت من جهة الدعسة الأمامية حتى قفل الكبوت

🛠️ ملاحظات المحمادي:

  • ⚠️ من أشهر أسباب تعطل السلك: الصدأ أو تعليق قفل الكبوت
  • ⭐ يُنصح بتزييت قفل الكبوت عند تغيير السلك لضمان عمر أطول
  • ⚠️ إذا كان الكبوت لا يفتح نهائيًا، قد يكون الخلل من القفل الأمامي وليس السلك
  • 🚚 تنتهي مسؤوليتنا بعد تسليم الشحنة لشركة النقل

🧾 تفاصيل إضافية:

  • 🗂️ التصنيف: هيكل السيارة > أسلاك وقفل كبوت
  • ⏳ التوفر: متوفر
  • 🚚 التوصيل: 2–5 أيام داخل المملكة
  • 🌍 الشحن: متاح لجميع دول الخليج


قراءة المزيد
الوزن 1 كجم

370

460
إضافة للسلة